m201 24v equipée radio

INSTALLATION DES POSTES AN/PRC 8A, 9A ou 1OA

 

 

Cet exemple concerne le montage sur la M201 Radio des postes AN/PRC 8A, 9A ou 10A et est extrait du MAT6039 (chapitre 2, approuvé le 3 janvier 1963). Cette installation peut se faire indifféremment d’un côté ou de l’autre selon les besoins de l’utilisateur (ex. montage à droite).

 

Chapitre 432 : marche à suivre pour l’installation

 

a)     ouvrir le robinet de batterie.

b)     fixer le « support d’embase d’antenne » MP-50 à l’arrière du véhicule après avoir déposé et récupérer « l’anneau pour hauban »  n° 200 473 avec écrou et rondelle sur le goujon du support de MP-50.

c)     Fixer l’anneau pour hauban sur le MP-50 (figure3 - détail B) en utilisant l’écrou et la rondelle récupérés à l’opération précédente et une vis H8x20.

d)     Fixer le « châssis-support » SP-114.A (figure3 - détail C) en position avant ou arrière (selon les besoins de l'utilisateur) sur la plaque latérale.

e)     Fixer le « support » du haut-parleur LS-166/U sur le côté de la plaque intermédiaire (figure3 - détail D) :

- poste position avant : trous n° 51 et 52,

- poste position arrière : trous n° 57 et 58 (ou 51 et 52, dans cette position le haut-parleur gêne le démontage du poste émetteur et récepteur).

f)    Brancher le « cordon d'alimentation » KD-758.A suivant la figure 6 en ayant soin de remplacer le cône et la rondelle existants sur la BJ-58.A, par le cône n° 17/294 et la rondelle n° 16/294 avant de souder les cosses sur le câble.

g)    Fixer le « câble d'alimentation » KD-758.A :

- poste à gauche : par l'intermédiaire de la « gouttière pour câble »

- poste à droite : par l'intermédiaire du collier n° 202 112 en utilisant un boulon existant.

h)    Fixer « l'embase d'antenne » AB-15/GR (fig. 7), équipée des adaptateurs UG-273/U et UG-306/U, sur le « support d'embase d'antenne » MP-50.

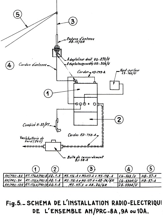
i)       Monter les accessoires d'exploitation en se reportant au tableau de la figure 5, et en particulier :

- fixer le haut-parleur LS-166/U sur son support,

- passer le cordon d'antenne dans l'isolateur IL-2/U

- fixer le hauban d'antenne HB-37.A sur l'antenne fouet (trois brins) puis accrocher les tirants aux anneaux pour hauban n° 200 743.

poste à gauche : suivant la figure 1;

poste à droite : suivant la figure 2.

j)      Brancher le poste (fig. 5).

k)     Fermer le robinet de batterie.

 

 

Bibliographie

- MAT 6189 : Notice technique d'utilisation et d'entretien (traduction du TM11-612 - Radio Sets AN/PRC 8, 9, 10, sept. 1951).

- MAT 6092 : Guide de l’utilisateur des postes AN/PRC 8A, 9A, 10A

MAT 6047 : Notice d'installation du poste radio AN/PRC-10-A sur JEEP canon 106 SR

 

A noter que les dénominations 8, 9 et 10 indiquent des postes US et 8A, 9A et 10A des postes français.

 

 

Retour vers la page M201 RADIO

23 mars 2005